
碟式離心機
管式離心機
臥螺離心機
平板離心機
不銹鋼離心機

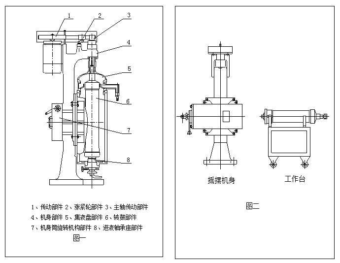
一、原理
管(guan)式(shi)離心(xin)(xin)機(ji)(ji)內轉鼓高速旋(xuan)轉產生(sheng)離心(xin)(xin)力場(chang),依據物料(liao)比重(zhong)不(bu)同在離心(xin)(xin)力場(chang)的作用(yong)下,使具有不(bu)同比重(zhong)的液體(ti)與固體(ti)兩(liang)相分離。管(guan)式(shi)分離機(ji)(ji)是從底部進料(liao),上部出(chu)料(liao),輕液由(you)液相排出(chu),固體(ti)物質(zhi)殘留于設備轉鼓之內,需(xu)停機(ji)(ji)人工清理。
二(er)、特點
主(zhu)要用于分離各(ge)種難分離的(de)懸(xuan)浮液(ye),特別(bie)適(shi)用于濃度低、顆粒細、固液(ye)兩相比重差甚微的(de)懸(xuan)浮液(ye)的(de)液(ye)固分離。
用戶如需分離易燃易爆物(wu)料,則在(zai)訂貨時(shi)提(ti)出(chu)采用防爆電機或密閉帶排(pai)風管(guan)的(de)機型(xing)。
三、控制系統
PLC自動控制系統,轉速,進料時間、運(yun)行時間、排渣時間電(dian)流、溫度(du)等顯示。中文語言操作界面。
四、應(ying)用(yong)范圍
中藥(植物(wu)(wu)、動物(wu)(wu)提取)分離:分離(li)過(guo)程(cheng)直接影響中(zhong)藥材(含植物提(ti)取、動物提(ti)取)終端產(chan)品質量,提(ti)取液中(zhong)的(de)一(yi)些(xie)多糖(tang)、蛋白、果膠以(yi)及一(yi)些(xie)采用過(guo)濾工(gong)藝無法去除的(de)不溶性流體雜(za)質,還(huan)有提(ti)取過(guo)程(cheng)中(zhong)殘留的(de)細微顆(ke)粒等等,都可以(yi)應用管式分離(li)機進(jin)行分離(li)。
食品(pin)行業:食用醋,調(diao)味品,油(you)品的(de)(de)(de)精(jing)制,果(guo)汁飲料中(zhong)的(de)(de)(de)纖維、果(guo)膠(jiao)、不溶性蛋白、殘(can)余果(guo)肉等(deng)雜質的(de)(de)(de)去除(chu),雞精(jing)的(de)(de)(de)分離,色素分離、晶(jing)鹽脫(tuo)鹵(lu)、制糖(tang)脫(tuo)蜜、保健酒除(chu)雜、酵母的(de)(de)(de)分離等(deng)多種(zhong)物料。
血液(ye)制品(pin):可應(ying)用于人、雞、豬(zhu) 、牛、羊等多種血(xue)(xue)液的血(xue)(xue)漿(jiang)與血(xue)(xue)細胞的分離。可用于制備血(xue)(xue)漿(jiang)(血(xue)(xue)球)蛋(dan)白(bai)粉、白(bai)蛋(dan)白(bai)、血(xue)(xue)紅素、凝(ning)血(xue)(xue)酶、SOD等。
生物制(zhi)藥:應用于疫苗制(zhi)備、菌(jun)(jun)體分離。如:狂(kuang)犬疫苗、百白破疫苗、肺炎(yan)疫苗、大腸桿菌(jun)(jun)、芽孢(bao)桿菌(jun)(jun)、孢(bao)子菌(jun)(jun)、乳酸菌(jun)(jun)等。
植物提(ti)(ti)取(qu)、動物提(ti)(ti)取(qu)、飲(yin)品(pin)、乳(ru)制品(pin)分(fen)離、血液(ye)制品(pin)分(fen)離、中藥提(ti)(ti)取(qu)、疫苗(miao)應(ying)用、微生物發酵、酵素(酶)、油水(shui)分(fen)離、油脂分(fen)離、粉體(ti)顆(ke)粒分(fen)級、化工處理(li)、石(shi)墨烯等。
五、主要技術參數(shu)
轉 鼓 |
通過能力L/h |
起動方式 |
||||
直徑(jing)mm |
高(gao)度(du)mm |
容積(ji)L |
轉速r/min |
分(fen)離因數 |
|
|
75 |
450 |
2.2 |
19000 |
15700 |
600 |
全壓 |
105 |
730 |
6 |
16300 |
15620 |
1200 |
全(quan)壓 |
125 |
730 |
8 |
15000 |
15750 |
1500 |
全壓(ya) |
150 |
730 |
10 |
14000 |
15700 |
2500 |
全壓 |
六、機器結(jie)構